Категории

Популярные схемы
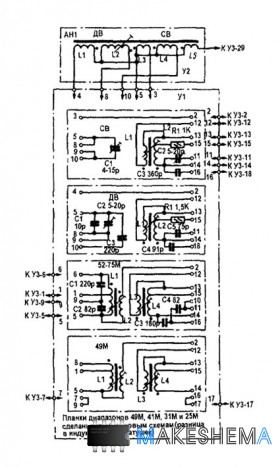
Схема приемника - Спидола-207  
Схема приемника - Спидола-207Приемник «Спидола-207» выпускался в 70-80-х годах прошлого века. В отличие от более ранних моделей «Спидолы» и «ВЭФа» у «Спидолы-207» есть УКВ-ЧМ диапазон, и несколько оригинальное конструктивное исполнение, - шкала настройки и основные органы управления находятся на верхней панели корпуса. По замыслу конструкторов, рабочее положение приемника - под углом к горизонтами. Приемник нужно наклонить вперед и поставить, подперев его опущенной ручкой для переноски.





При этом динамик смотрит в стол, на котором стоит приемник или в потолок, в зависимости от того, как повернуть данный аппарат. Конструкция весьма спорная, но... была такая мода.

Приемник работает в диапазонах средних и длинных волн, пяти коротковолновых поддиапазонах и УКВ-ЧМ диапазоне. Переключатель АМ-диапазонов - барабанный, а для включения УКВ-ЧМ диапазона есть другой переключатель, установленный на плате приемника.

УКВ-блок
Схема приемника - Спидола-207

Тракт ПЧ общий для AM и ЧМ диапазонов. Фильтр УПЧ сделан по двухполосной схеме, с последовательно включенными контурами, настроенным на 465 кГц и 10,7 МГц. Такой принцип построения тракта ПЧ АМ/ЧМ приемника был широко распространен в ламповой приемной аппаратуре, но здесь реализован на транзисторах.

Барабанный переключатель
Схема приемника - Спидола-207Преобразователь частоты УКВ-ЧМ диапазона (УКВ-блок) отдельный, собранный в экранированном корпусе. Перестраивается переменным конденсатором, но в отличие от УКВ-блока приемника «океан», у этого есть автоподстройка частоты гетеродина варикапом Д2 (типа Д902),

Низкочастотный усилитель двухтактный с двумя трансформаторами - переходным, создающим противофазные сигналы, и выходным.

Имеется стрелочный индикатор точной настройки на основе микроамперметра с торцевой шкалой. Следует заметить, что у практически идентичного приемника « Спидол а-208» индикатор настройки отсутствует.


ДРУГИЕ ПОХОЖИЕ СХЕМЫ НА САЙТЕ:


Авторизация
Логин:
Пароль:
Напомнить пароль?

Облако тегов

Опрос
Схемы каких устройств вам наиболее интересны?



Интересные схемы