Категории

Популярные схемы
Стабилизаторы тока КЖ101А1  
Стабилизаторы тока КЖ101А1Стабилизаторы тока КЖ101А1 применяются в электронных телефонных аппаратах и других приборах, работающих с телефонными линиями. Диапазон тока стабилизации 20-1400µA. Внутренняя схема и цоколевка на рис. 1. Различные схемы включения - на рисунках 2, 3 и 4. Значения параметров сведены в таблицу.

Читать дальше...


Схема импульсного стабилизатора на микросхеме MC34063A  
Схема импульсного стабилизатора на микросхеме MC34063AМикросхема выпускается фирмой Motorola, предназначена для схем DC/DC преобразователей и источников питания, повышающих, понижающих или инвертирующих напряжение. Входное напряжение может быть от 3 до 40V, выходное напряжение можно так же установить от 3 до 40V, при любом входном. Установка выходного напряжения производится выбором сопротивлений резисторов делителя так, чтобы при номинальном выходном напряжении, на выходе этого делителя было 1,25V.

Читать дальше...


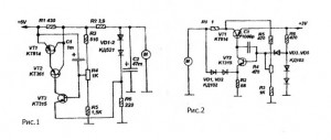
Схема стабилизатора частоты вращения магнитафона  
Схема стабилизатора частоты вращения магнитафонаНаиболее слабое место большинства кассетных магнитофонов стабилизатор частоты вращения вала электро-двигателя. Обычно он выполняется на специализированной микросхеме, которую в последствии бывает заменить нечем. На рисунке 1 показана хорошо зарекомендовавшая себя схема стабилизатора частоты вращения для батарейного магнитофона или плеера с источником питания +6В.

Читать дальше...


Импульсный стабилизатор LM2577  
Импульсный стабилизатор LM2577Микросхема предназначено для схем DC/DC преобразователей и источников питания. Типовая схема включения для получения выходного напряжения 12V (ток до 0,8А) из входного 5V показана на рисунке.

Для регулировки выходного напряжения служит вывод «Feedback». Выходное напряжение определяется по формуле: Uout = 1,23*(1 + R1/R2).

Читать дальше...


Авторизация
Логин:
Пароль:
Напомнить пароль?

Облако тегов

Опрос
Схемы каких устройств вам наиболее интересны?



Интересные схемы